특허 · 법률 · AI 규제까지
완전 자동화
Vision AI와 LLM을 결합하여, 아이디어 입력부터 특허 출원, 소송 대응, AI 규제 검증까지
전문가의 업무 효율을 극대화합니다.
TKLABEL은 법무법인, 변호사, 변리사, AI 관련 종사자 분들과의 협업을 위해 소개하는 곳입니다.
소개하는 모든 AI 특허 및 법률 서비스는 반드시 전문가와 함께 검토되어야 합니다.
- AI는 초안 생성과 반복 업무를 담당합니다
- 최종 판단과 법적 책임은 전문가의 영역입니다
4조 4,000억원의 BlueOcean을 선점합니다
전체 타겟 시장 (TAM)
기존 AI가 범접하지 못한
'AI 침투율 0.1%'의 블루오션을
TKLABEL이 선점합니다.
특허(IP) 서비스 시장
Patent Service Market
행정/소액 사건 시장
Admin & Small Claims
AI 규제 준수 시장
AI Compliance Market
세 가지 핵심 영역을
동시에 혁신합니다
TKLABEL AI는 특허, 법률, AI 규제 준수 — 세 핵심 산업의 모든 프로세스를
가장 빠르고 정교하게, 완벽히 혁신합니다.
인공지능법 · AI 규제 준수 검증
AI 서비스가 인공지능기본법 · EU AI Act를 제대로 지키는지 자동으로 점검하고, 빠진 부분을 찾아드립니다.
- 웹 페이지를 있는 그대로 안정적으로 캡처
- 숨겨진 영역까지 빠짐없이 탐색
- 검증 범위와 신뢰도를 수치로 산출
- 사용자가 실제로 도달 가능한지 확인
AI 특허 자동화
아이디어 발굴부터 KIPO 출원까지. 복잡한 명세서 작성과 도면 생성을 AI가 주도합니다.
- MLP 신경망 기반 등록 확률 예측
- RAG 기반 거절 위험 사전 진단
- KIPO 규격 도면 자동 생성
- 4가지 심사관 시뮬레이션
AI 법률 자동화
판례 분석부터 소장 제출까지. 심급별 가중치 RAG로 승소 논리를 설계합니다.
- 심급별 가중치 판례 RAG 분석
- 파기환송 선례 자동 필터링
- 승소 논리 기반 소장 자동 생성
- 전자소송 포털 자동 연동
당신의 AI 서비스는 설명 가능한 AI(XAI)인가요?
인공지능기본법
2026년 1월 22일, 이미 시행 중입니다.
최대 3,000만 원
사전고지 누락만으로 과태료 부과 대상. 검증 없이 과태료 대상이 되시겠습니까?
EU(유럽) AI Act를 이미 적용 중.
빠르게 변하는 국내 AI 규제를 파악하고 자동화로 간편하게 검증하는 특허 기술.
특허 기술로, 당신의 AI 사업을 지킵니다.
AI 특허 자동화, 어디까지 자동화될까요?
선행조사 · 명세서 · 도면 · 거절 대응 AI로 가능합니다.
우리의 특허 기술은 제출까지.
브라우저 자동화로 특허청에 직접 제출. 개인·중소기업 수수료 70% 감면 대상.
시간과 비용을 절감, 변리사 검토까지 더하면 더 완벽한 특허가 완성됩니다.
남녀노소 누구나 특허를 낼 수 있도록, 그것이 목표입니다.
변호사를 만날 때 불안감 때문에 제대로 상담을 못한 적이 있나요?
소송을 준비하려는데 뭐부터 해야 할지, 어떤 법에 해당하는지 알고 계신가요?
모르고 시작하는 것과 알고 시작하는 것,
판결에 큰 차이를 만듭니다.
변호사와 의뢰인 모두에게
미팅에서 나눠야 할 핵심 내용을 미리 전달. 더 효율적인 상담이 가능합니다.
온톨로지 기반 RAG로 법률 지식을 구조화.
다중 검증 파이프라인으로 AI 환각을 제어합니다.
소장 · 할 일 · 대처방안 · 개인 맞춤 AI 특허 기술이 제공합니다.
전자소송도 제출까지.
브라우저 자동화로 법원에 직접 제출.
실제 사건을 해결하고, 그 경험으로 특허를 출원. 거절 대응까지 AI 특허 자동화로 3건 출원 완료.
인공지능법 · AI 규제 준수 검증
AI 서비스가 인공지능기본법 · EU AI Act를 제대로 지키는지 자동으로 점검하고, 빠진 부분을 찾아드립니다.
- 웹 페이지를 있는 그대로 안정적으로 캡처
- 숨겨진 영역까지 빠짐없이 탐색
- 검증 범위와 신뢰도를 수치로 산출
- 사용자가 실제로 도달 가능한지 확인
당신의 AI 서비스는 설명 가능한 AI(XAI)인가요?
인공지능기본법
2026년 1월 22일, 이미 시행 중입니다.
최대 3,000만 원
사전고지 누락만으로 과태료 부과 대상. 검증 없이 과태료 대상이 되시겠습니까?
EU(유럽) AI Act를 이미 적용 중.
빠르게 변하는 국내 AI 규제를 파악하고 자동화로 간편하게 검증하는 특허 기술.
특허 기술로, 당신의 AI 사업을 지킵니다.
AI 특허 자동화
아이디어 발굴부터 KIPO 출원까지. 복잡한 명세서 작성과 도면 생성을 AI가 주도합니다.
- MLP 신경망 기반 등록 확률 예측
- RAG 기반 거절 위험 사전 진단
- KIPO 규격 도면 자동 생성
- 4가지 심사관 시뮬레이션
AI 특허 자동화, 어디까지 자동화될까요?
선행조사 · 명세서 · 도면 · 거절 대응 AI로 가능합니다.
우리의 특허 기술은 제출까지.
브라우저 자동화로 특허청에 직접 제출. 개인·중소기업 수수료 70% 감면 대상.
시간과 비용을 절감, 변리사 검토까지 더하면 더 완벽한 특허가 완성됩니다.
남녀노소 누구나 특허를 낼 수 있도록, 그것이 목표입니다.
AI 법률 자동화
판례 분석부터 소장 제출까지. 심급별 가중치 RAG로 승소 논리를 설계합니다.
- 심급별 가중치 판례 RAG 분석
- 파기환송 선례 자동 필터링
- 승소 논리 기반 소장 자동 생성
- 전자소송 포털 자동 연동
변호사를 만날 때 불안감 때문에 제대로 상담을 못한 적이 있나요?
소송을 준비하려는데 뭐부터 해야 할지, 어떤 법에 해당하는지 알고 계신가요?
모르고 시작하는 것과 알고 시작하는 것,
판결에 큰 차이를 만듭니다.
변호사와 의뢰인 모두에게
미팅에서 나눠야 할 핵심 내용을 미리 전달. 더 효율적인 상담이 가능합니다.
온톨로지 기반 RAG로 법률 지식을 구조화.
다중 검증 파이프라인으로 AI 환각을 제어합니다.
소장 · 할 일 · 대처방안 · 개인 맞춤 AI 특허 기술이 제공합니다.
전자소송도 제출까지.
브라우저 자동화로 법원에 직접 제출.
실제 사건을 해결하고, 그 경험으로 특허를 출원. 거절 대응까지 AI 특허 자동화로 3건 출원 완료.
먼저 활성화된 트랙을 둘러보세요.
AI 규제 준수 검증,
자동으로.
서비스 URL 하나면 충분합니다. 인공지능기본법과 EU AI Act 준수 여부를 자동으로 점검하고, 검증 리포트를 발행합니다.
인공지능기본법은 이미 시행 중입니다. 지금 이 순간에도 AI 서비스는 규제 준수 의무를 지고 있습니다.
웹 페이지를 있는 그대로
안정적으로 캡처합니다.
동적 웹 페이지에서 정확한 시점의 DOM 스냅샷을 확정합니다. 네트워크 유휴 + DOM 변이 감시, 두 조건을 동시에 충족해야만 캡처를 확정합니다.
- 미완료 HTTP 요청이 임계값 이하로 일정 시간 유지되면 네트워크 안정 판정
- MutationObserver 감시, 독자적 판정 구간 동안 무변이 시 DOM 안정 판정
- 최대 대기시간 초과 시 부분 스냅샷 확정 + 상태 코드 기록
threshold: adaptive · window: proprietary
MutationObserver · quiet window: proprietary
Waiting for both conditions…
관찰 커버리지를
수치로 증명합니다.
Shadow DOM, iframe, 교차 출처 영역까지 — 관찰할 수 없는 영역을 추정하고, 검증 범위의 신뢰도를 수치로 산출합니다.
OCS = f(관찰 노드, 추정 미관찰 노드, 상태별 가중치)
관찰 불가 영역의 노드 밀도와 접근 상태별 차등 가중치를 독자적 산식으로 계산합니다. 불확실성이 임계값을 초과하면 저신뢰도 플래그를 출력합니다.
접근 상태별 가중치 분석
AI 분석 제안
교차 출처 iframe이 불확실성의 주요 원인으로 식별되었습니다. 접근성 개선 방안 보기를 통해 커버리지를 높일 수 있습니다.
AI 고지 화면에
실제로 도달할 수 있는가?
규제가 요구하는 AI 설명 UI가 사용자에게 실제 도달 가능한지, 너비 우선 탐색(BFS)으로 자동 검증합니다.
도달 깊이: 3 클릭 | 경로 해시: bf3a...72d1
도달성 검증 결과
검증 결과를
증거와 함께 리포트로.
OCS/U 점수, 도달성 검증 결과, 노드별 증거 메타데이터를 포함한 규제 준수 검증 리포트를 자동 발행합니다.
- 관찰 커버리지 점수 + 불확실성 구간 리포트
- 노드별 위치·유형·접근상태 증거 메타데이터
- 도달 경로 + 스냅샷 해시로 감사 추적성 보장
스냅샷 해시: sha256:a7f3...b2c1 | 검증 시각: 2026-03-12T14:30:00Z
출원부터 등록까지,
AI로 완벽하게.
아이디어 설명 한 줄이면 충분합니다. 거절될 확률을 미리 예측하고, 복잡한 명세서 초안 작성부터 도면 생성까지 Vision AI가 전문가의 검토를 위해 준비합니다.
위 수치는 시작일 뿐, 지금 이 순간에도 수천 건의 실제 KIPO 데이터를 실시간으로 수집 및 학습하고 있습니다.
미리 만나는 AI 심사관
출원 전에 4가지 성향의 가상 심사관이 자동으로 귀하의 특허를 심사합니다.
다양한 관점의 피드백으로 거절 위험을 사전에 완벽하게 차단하세요.
Advanced Technology
핵심 기술 스택
API가 없는 보안 사이트도
사람처럼 보고 제어합니다.
ActiveX, 키보드 보안 프로그램이 설치된 공공기관(특허청, 국세청 등) 사이트는 일반적인 크롤러로는 접근이 불가능합니다. TKLABEL은 Vision AI를 통해 화면을 '보고' 좌표를 인식하여 마우스를 물리적으로 제어합니다.
- 보안 플러그인 우회 (NPKI/AnySign 등)
- 실시간 화면 OCR 및 픽셀 단위 좌표 분석
- 인간의 움직임을 모사한 마우스 에뮬레이션
UI가 변경되어도
멈추지 않고 스스로 복구합니다.
웹사이트의 구조(DOM)가 변경되면 기존 봇은 작동을 멈춥니다. TKLABEL의 Self-Healing 엔진은 에러 발생 시 즉시 DOM을 재분석하고, 변경된 선택자를 찾아 자동으로 코드를 수정합니다.
복잡한 특허 문서도
구조적으로 완벽하게 이해합니다.
단순한 OCR이 아닙니다. TKLABEL은 도면의 각 부품과 명세서의 청구항을 연결하여, 문서의 모든 요소를 의미론적으로 연결(Semantic Connection)합니다.
[청구항 1] 본 발명은 데이터를 수집하는 단계와...
상기 수집된 데이터를 Vision AI로 분석하여 특징을...
기계적 좌표를 산출하는 에뮬레이션 단계를 포함하는 시스템.
Accelerated Patent Lifecycle
선행조사부터 거절 대응까지, AI 에이전트가 특허 출원의 전 과정을 자동화합니다.
선행기술 조사
BERT 시맨틱 검색으로 유사 특허 분석
명세서 작성
RAG 기반 청구항 및 상세설명 생성
도면 생성
KIPO 규격 SVG 도면 자동 생성
자동 출원
patent.go.kr 직접 제출
거절 대응
심사관 의견서 AI 자동 생성
0.01% 단위의
정밀 등록 확률 예측
50만 건의 심사 데이터를 학습한 8-16-1 MLP 신경망이 귀하의 특허를 8가지 차원에서 입체적으로 분석합니다.
소프트웨어 분야는 경쟁이 치열하여 90% 이상의 완성도가 요구됩니다. 현재 78%로, 선행기술 차별성 보강이 필요합니다.
세부 분석 리포트
AI 최적화 제안
선행기술 차별성 점수가 낮습니다. 유사 특허 12건의 청구항 비교 분석을 통해 회피 설계안을 생성하시겠습니까? (예상 추가 점수 +15%)
거절될 특허는
출원하지 않습니다.
2298건의 실제 거절 사례와 704건의 심판 판례를 학습한 RAG 엔진이 명세서 작성 단계에서부터 '거절 트리거 키워드'를 실시간으로 탐지하고 차단합니다.
- 불명확 용어('필요에 따라', '적절히' 등) 자동 탐지
- 실시 불가 표현('통상의 방법' 등) 경고
- 선행기술과 90% 이상 유사한 문장 필터링
범위를 특정할 수 없는 모호한 표현 - 거절이유통지 빈출
구체적 실시 방법 미기재 - 통상의 기술자가 재현 불가
텍스트만 넣으면
특허 도면 자동 생성
LLM이 명세서를 이해하여 Code를 작성하고,
KIPO 표준 규격(DPI 300~600, 흑백 TIFF/PNG)에 맞는 벡터 그래픽을 렌더링합니다.
1. 명세서 분석
시스템 구성요소와 연결 관계를 식별하고 시각화할 대상을 추출합니다.
2. 코드 생성 (Graphviz)
LLM이 구조를 Graphviz Code로 변환하여 정확한 레이아웃을 잡습니다.
3. 표준 도면 렌더링
특허청 제출용 고해상도 이미지(PNG/TIFF)와 PDF 삽입용 벡터를 생성합니다.
기술의 정수를 담는
전문 규격 증빙 자료
TKLABEL 고유의 시스템 프롬프트와 방대한 RAG 지식 베이스를 결합하여,
단순 드로잉을 넘어 특허 도면 가이드라인을 100% 충족하는 전문 도면을 자율 생성합니다.

도 1: 특허 오토파일럿 아키텍처

도 5: 법률 추론 및 선례 분석도

도 8: 전자소송(ECFS) 무인 제출 절차
TKLABEL의 도면 생성 알고리즘
특허청(KIPO)의 엄격한 도면 가이드를 완벽히 학습했습니다. RAG를 통해 명세서의 기술적 특징을 실시간으로 참조하고, 최적화된 시스템 프롬프트를 통해 참조 부호의 정합성과 도면 번호 체계를 100% 일치시켜 '기재불비' 위험을 원천 차단합니다.
이제, Legal AI의
영역으로 넘어갑니다.
특허 확보는 시작일 뿐입니다.
실제 법률 소송과 분쟁을 직접 처리하는 Legal AI를 만나보세요.
판례 데이터를 학습한 Legal AI가
승소 가능한 논리를 설계합니다.
대법원 판례에 가중치를 두는 독자적인 RAG 알고리즘. 단순한 검색이 아니라, 법적 논리를 구성하여 승소 확률이 가장 높은 소장을 작성합니다.
판례 참조 우선순위를
자동으로 분석합니다
대법원 판결을 최우선으로, 파기환송된 판례는 자동 필터링.
법적 계층 구조를 반영한 지능형 판례 분석 엔진입니다.
Legal Hierarchy System
Real-time RAG Engine
* 상기 화면은 시스템의 동작 원리를 이해 돕기 위해 연출된 시뮬레이션입니다.
다분야 통합
법률 지식 그래프
살아있는 유기체처럼, 6개 법 분야의 방대한 데이터를 실시간으로 순환시키며 숨겨진 법리적 맥락과 연결고리를 스스로 찾아냅니다.
위 수치는 시작일 뿐, 지금 이 순간에도 수천 건의 실제 데이터를 실시간으로 수집 및 학습하고 있습니다.
Active Neural Reasoning
분야 간 법리 교차 참조 및 자동 추론
Live Context Mapping
사건의 문맥에 따라 살아 움직이는 판례 매핑
Adaptive Prediction
실시간 데이터 흐름을 통한 판결 경향 예측
AI가 승소 확률을 예측합니다
16,000건 이상의 판례를 분석하여 6가지 핵심 지표로 승소 가능성을 산출합니다.
대법원 판례 일치도
---상급심 판례와의 정합성
법리 주장 강도
---논리적 체계성
증거 충분성
---입증력 부족 감지
선례 유효성
---인용 판례 유효
청구 적정성
---청구 요건 타당성
쟁점 복잡도
---법적 난이도
AI 법률 자율주행 프로세스
복잡한 소송 절차를 3단계 파이프라인으로 구조화하여,
법률 전문가 수준의 서면 작성부터 제출까지 완벽하게 자동화합니다.
AI가 직접 법률 서면 생성
사건 정보 입력만 하면, AI가 16,000건 판례를 실시간 분석하여 법률 요건에 맞는 전문 서면을 직접 작성합니다.
소장 작성
Processing청구취지 및 원인 구성
답변서 작성
Processing항변 논리 및 반박 구성
준비서면
Processing쟁점별 주장 정리
AI가 직접 증거 분석 및 검증
AI가 서면의 논리적 허점을 자동 검출하고, 파기된 판례는 필터링하여 갑호증/을호증을 직접 분류합니다.
증거 목록 생성
Processing갑호증/을호증 자동 분류
서면 검토
Processing법리 오류/누락 정밀 분석
AI가 직접 법원 시스템 제출
AI가 인지액/송달료를 자동 계산하고, 전자소송 시스템(ECFS)에 직접 접속하여 서면을 제출합니다.
비용 자동 계산
Processing인지액 및 송달료 산정
전자소송 연동
ProcessingECFS 자동 제출 시스템
사무장 3명의 업무량, AI는 단 10분이면 충분합니다
AI가 법적 논리를
심층 분석 레이어로
완벽하게 설계합니다.
단순한 문장 생성을 넘어섭니다. TKLABEL AI는 상급심 판례부터 실효된 선례까지 4계층 법적 데이터를 정밀 분석하여, 논리적 허점이 없는 최적의 승소 전략을 도출합니다.
법적 계층 및 실효성 검토
대법원 전원합의체부터 하급심까지, 판례의 법적 구속력과 우선순위를 정밀 분석합니다.
선례 효력 실시간 추적
상급심 파기 여부 및 법령 개정에 따른 판례 유효성을 실시간으로 크로스체크합니다.
승소 논리 및 청구 설계
유사 승소 사례에서 법리적 타당성을 추출하여 독창적인 승소 논리를 완성합니다.
최적 승소 소장 생성
4계층 논리 검증이 완료된
무결점 법률 서면
AI가 승소 가능한 소장을
직접 작성합니다
판례 빅데이터를 분석하여 최적의 법리 구성을 찾아내고,
변호사가 작성한 것과 구별할 수 없는 수준의 초안을 생성합니다.
판례 정밀 분석 (Input)
"대법원 2023다250123 판결: 민법 제390조에 따른 채무불이행 손해배상 청구 요건에 관한 판시..."
[쟁점 추출] 1. 계약 불이행의 귀책 사유 2. 손해배상액 산정의 기준 (판례 2022다5678 참조)
소장 자동 완성
소 장 (Complaint)
전자소송도
AI가 직접 제출합니다
경쟁사는 문서 생성까지만. TKLABEL은 법원 전자소송시스템(ECFS)에
AI가 직접 접속하여 서류 제출까지 완료합니다. 진짜 자율주행 AI.
전자소송 서류제출
대법원 전자소송 시스템
자동 제출 진행 상황
XAI Compliance 규제 준수 검증
🔍 실시간 판례 분석 결과
신뢰도 98.2%계약 종료 후 임대인의 보증금 반환 지체에 대한 지연이자 청구 가능성 검토 중
독자적인 AI Triple Engine
XAI Compliance, 특허(Patent), 법률(Legal)을 아우르는 완전 자동화 파이프라인이
발명의 권리화부터 법적 보호까지 완벽하게 수행합니다.
XAI Compliance Verification Enginev2.0 Active
웹 서비스 AI 규제 준수 자동 검증 및 증거 기반 리포트 생성 파이프라인
URL 입력
HTTPSTarget Acquisition
DOM 스냅샷 확정
AdaptiveDual Stabilization
OCS/U 엔진
ProprietaryCoverage Analysis
노드 분류기
Per-NodeDOM Node Classifier
BFS 도달성 검증
Auto-BFSReachability Check
증거 해싱
SHA-256Evidence Integrity
리포트 생성
PDF/JSONCompliance Report
규제 제출
AutomatedRegulatory Filing
Autonomous Patent AI Enginev2.0 Active
선행기술 검색 및 특허 명세서, 거절대응 자동 생성 파이프라인
초기 아이디어
JSON/TXTRaw Description
선행기술 검색
Global DBPrior Art Search
기술적 특징 추출
LLM-70BFeature Extraction
청구항 계층 설계
Tree-SearchClaim Tree Logic
법률 적합성 검증
Legal Compliance Check
거절 대응 시뮬레이션
Auto-OARejection Defense
명세서 생성
DOCX/PDFSpec Generation
관청 자동 출원
CompletedKIPO/USPTO API
Legal AI Analysis Enginev2.0 Active
판례 기반 승소 전략 분석 및 소장 작성, 전자소송 자동 제출 파이프라인
사건 접수 & 분석
InputCase Analysis
판례 RAG 검색
Vector-DBHierarchical Search
승소 확률 예측
AI-ScoreWin Prob. Analytics
3단계 논리 추론
Logic Build
선례 효력 추적
Real-timePrecedent Tracking
파기환송 필터링
Auto-FilterRisk Filtering
소장 자동 작성
Legal-GrComplaint Drafting
전자소송 제출
Auto-FileECFS Submission
12가지 독보적 기술.
3중 방어 시스템.
경쟁사가 '검색'에 머무를 때, 우리는 '자동화'와 '분석'을 선도합니다.
3개의 핵심 특허로 보호받는 12가지 독보적 기술입니다.
인공지능법 · DOM 관찰 신뢰도 기반 규제 준수 검증 (제1특허)
DOM 스냅샷 이중 안정화
HTTP 미완료 요청 ≤ T_net 지속 D_idle초 + MutationObserver 무변이 D_stable초, 두 조건 동시 충족 시에만 스냅샷 확정
OCS/U 관찰 커버리지 엔진
관찰 노드 밀도(ρ_dom)와 상태 코드별 차등 가중치로 관찰 불가 영역 추정, 독자 산식으로 커버리지(OCS)·불확실성(U) 산출
BFS 도달성 검증
규제가 요구하는 AI 고지·설명 UI가 k클릭 내 도달 가능한지 BFS 검증, 자동응답·반복 앵커 루프 자동 제외
증거 메타데이터 추적
xpath, cssPath, sourceType(DOM/SHADOW_DOM/SAME_ORIGIN_IFRAME), boundingBox, htmlSnippet 등 노드별 기록으로 감사 추적성 보장
특허(IP) 자동 출원부터 대응 등록 AI 자동화 (제2특허)
IPC 기술분야별 적응형 임계값
IPC 분야별 적응형 임계값 θ*를 독자 산출, 분야 특성에 맞는 등록 가능성 판단 (선행기술 없음)
거절-보정 페어(Pair) 학습
단순 거절 사례가 아닌, '거절 후 보정하여 등록된' 201쌍의 성공 데이터를 독자 학습
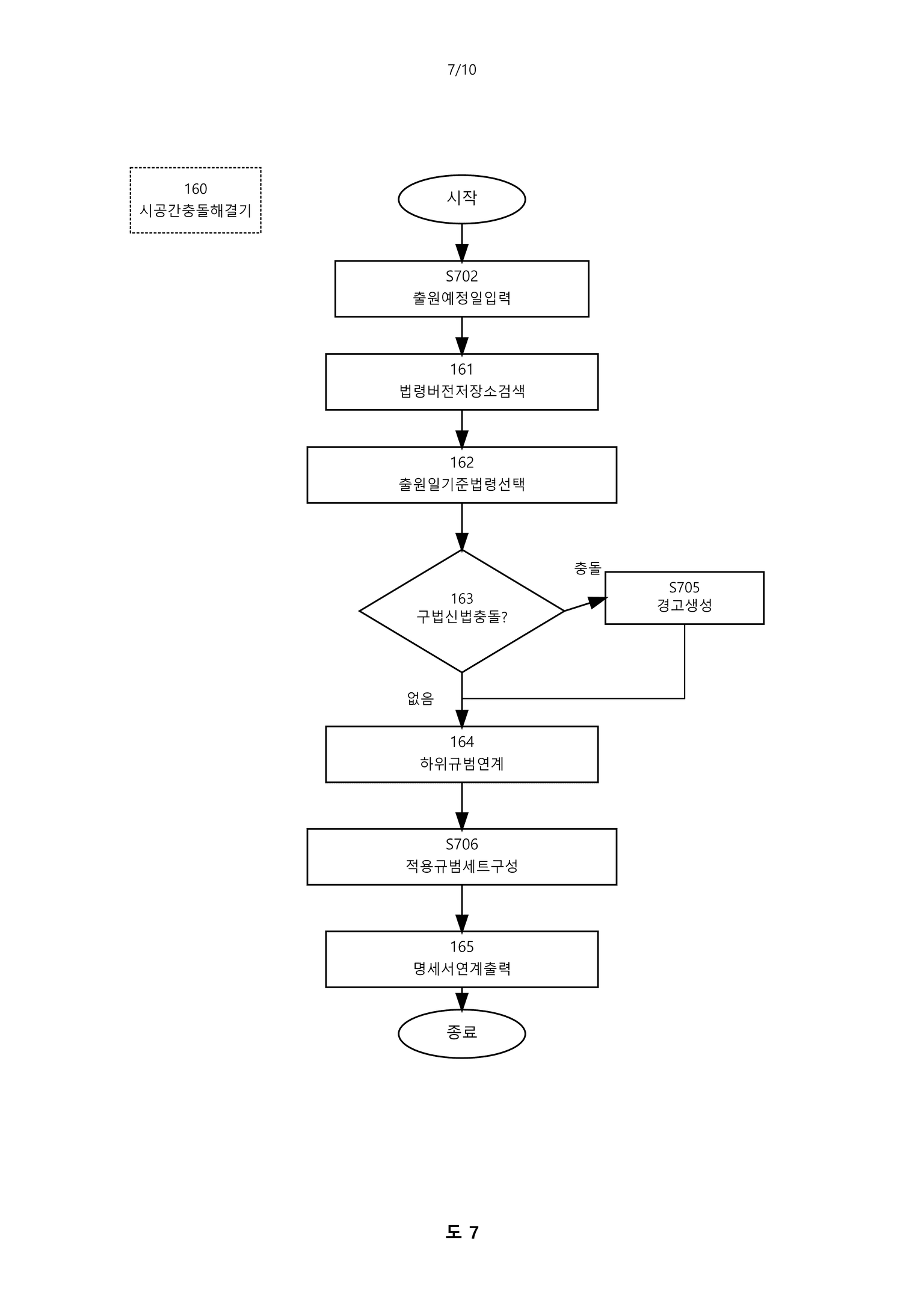
시공간 충돌 해결 (Time-Travel)
출원 시점의 법령과 판례를 기준으로 유효성을 판단하는 4차원 검증 엔진
DOM 의미론적 탐색 엔진
ID/Class가 바뀌어도 버튼의 '의미'를 찾아내는 Self-Healing 브라우저 제어
지능형 법률 대리 및 행정 심판 AI (제3특허)
RAG 3-Tier 가중치 검색
법령(α) > 거절사례(β) > 일반특허(γ) 계층별 차등 가중치로 입체적 법률 추론
End-to-End 완전 통합
검색-작성-도면-출원-거절대응-등록까지 전 과정을 끊김 없이 수행하는 유일한 시스템
소송 전략 및 소장 빌더
청구취지와 원인을 법률적 요건에 맞춰 AI가 논리적으로 자동 구성 및 생성
거절 대응 시나리오 빌더
심사관별 거절 성향을 분석하여 높은 확률로 인용 가능한 최적의 보정안 도출
독보적인 기술 자산 포트폴리오
대한민국 특허청에 정식 출원된 3개의 핵심 특허 기술을 비교 분석합니다.
| 비교 항목 | 제1특허 (XAI Compliance) | 제2특허 (Patent AI) | 제3특허 (Legal AI) |
|---|---|---|---|
핵심 타겟 및 서비스 | AI 서비스 제공자, 규제 기관, 인증 기관 | 개인, 기업, 특허법인 | 개인, 기업, 법무법인 |
자동화 핵심 로직 | DOM 이중 안정화 & OCS/U 신뢰도 산출 | BERT 의미분석 & MLP 예측 | 심급별 가중치 RAG & 효력 추적 |
주요 산출물 | OCS/U 보고서, 노드별 증거 메타데이터 | 특허 명세서, KIPO 규격 도면 | 소장, 답변서, 준비서면 |
연동 대상 | 브라우저 확장, 헤드리스 브라우저, 웹 감사 시스템 | 특허청(KIPO) 스마트출원 | 대한민국 법원 전자소송(ECFS) |
특허 청구항 규모 | DOM/관찰 커버리지 기반 25개 | 독립항 및 종속항 20개 | 법리 요건 중심 30개 |
"세 특허의 결합은 발명의 권리화, 법적 보호, 인공지능기본법·EU AI Act 규제 준수 검증까지 완전한 지식재산 자동화 생태계를 구축합니다."
왜 TKLABEL인가?
기존 서비스들은 파편화되어 있습니다.
우리는 검색부터 법률 대응까지 하나의 흐름으로 통합했습니다.
의미적 검색 (Semantic)
문맥과 동의어를 이해하는 AI 검색
등록 가능성 예측
신경망 기반 등록 확률 산출
거절 대응 (Rejection)
거절이유 분석 및 의견서 생성
도면 자동 생성
KIPO 규격 SVG/이미지 생성
원스톱 자동 출원
특허청 시스템 직접 제출
법률 계층 통합
판례 분석 및 법적 효력 추적
TKLABEL은 특허의 전 과정을 커버합니다.
의미적 검색 (Semantic)
문맥과 동의어를 이해하는 AI 검색
등록 가능성 예측
신경망 기반 등록 확률 산출
거절 대응 (Rejection)
거절이유 분석 및 의견서 생성
도면 자동 생성
KIPO 규격 SVG/이미지 생성
원스톱 자동 출원
특허청 시스템 직접 제출
법률 계층 통합
판례 분석 및 법적 효력 추적
System Architecture
강력한 AI 코어부터 견고한 인프라까지, 4단계 기술 스택
AI / ML Layer
핵심 추론 및 생성 엔진
RAG Layer
특허 데이터 검색/증강
Automation Layer
실제 업무 수행 에이전트
Infrastructure Layer
기반 시스템 환경
AI가 당신의 사업을
빼앗는 것이 아닙니다.
AI를 쓰는 경쟁자가
빼앗을 뿐입니다.
법무법인, 변호사, 변리사, AI 관련 종사자 여러분과 함께 성장할 파트너십을 기다립니다.
파트너십 문의
함께 성장할 파트너를 기다립니다.
편하게 문의해 주세요.
PREMIUM AI AUTOPILOT SOLUTION
Let's Build Future
혁신의 시작, TKLABEL과 함께하세요.
가장 진보된 AI 기술로 귀사의 비즈니스에 새로운 가능성을 열어드립니다.
함께 성장할
파트너를 찾습니다
법무법인, 변호사, 변리사,
AI 관련 종사자 여러분의
소중한 문의를 기다립니다.
dev@tklabel.co.kr
Office
Seoul, Republic of Korea